mobile menu icon P2R logo

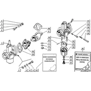
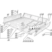
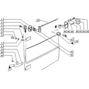
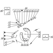
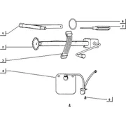
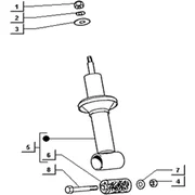
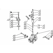
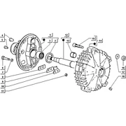
Vehicle Exploded View - PIAGGIO VU APE TM ESSENCE 200 APE TM 703 220CC 2T 1997-1999 PIAGGIO VU

All the exploded views of this vehicle

Filter :
Or choose :